为进一步促进政务服务标准化、规范化、便利化,持续提升企业和群众满意度、获得感,贵港市围绕“高效办成一件事”合力攻坚,通过线上线下融合,强化有关业务集约整合和互联互通,不断完善线上线下服务,破局立新,在不断优化2024年度两批重点事项服务和统筹做好2025年度第一批重点事项清单实施工作的基础上,拓展更多“高效办成一件事”业务场景落地见效,推动多行业领域“一件事”标准统一、业务协同,及时解决企业群众面临的难点堵点问题。

贵港市“高效办成一件事”办理区
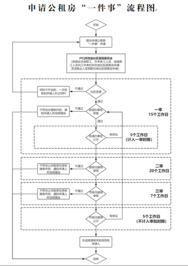
一、“一件事”创新办,横向拓展业务场景
贵港市大数据发展和政务局联合贵港市住房城乡建设局积极创新,2024年9月将申请公租房“一件事”纳入政务服务中心“高效办成一件事”专窗统一办理,横向拓展贵港市更多领域实现“一次告知、一表申请、一套材料、一窗受理、一网办理”,开办至今已办结公租房审核数量302户,其中2025年以来办结公租房审核的数量为165户,2025年3月17日为2024年第七、八批和2025年第一、二、三批经审核合格的公共租赁住房保障对象共195户成功摇号配租。为企业群众提供更多更广“一件事”业务场景,提升社会整体效益。

2025年3月17日,贵港市本级2025年第一批次公租房公开摇号配租活动在市区举行,通过摇号配租,195户中低收入家庭喜获公租房。
2025年2月,贵港市海事局创新实施“双预审+容缺办”工作措施,与百色市海事局形成联动,完成首例船舶跨区域登记“一件事”。此外,2025年4月与贵港海事局研究拓展船舶开航“一件事”服务措施,探索实现贵港海事局与贵港交通运输局并联审批船舶开航“一件事”,做到一次申请、并联预审、协同办理、快办快结、同步发证,激发贵港航运市场活力,促进贵港港口发展。

贵港海事局政务中心通过“就近代转办”服务帮助企业办理相关业务
二、“一件事”集成办,纵向深化服务能力
梳理的申请公租房“一件事”、大件运输“一件事”等多个涉及多层级的“一件事”,“物理集中”多领域事项,通过广西数字政务一体化平台系统流转“化学整合”,实现跨层级“一件事”纵向联合、一次审批,如大件运输“一件事”办理时限从11个工作日压减到最短2个工作日、最长9个工作日,通过合并多部门审批表单,将重复提交的材料压缩为“一表通办”,将16份申请材料通过数据共享和简化压减为13份。

申请公租房“一件事”流程图
2025年5月1日起,在全市定点医疗机构推行优抚对象医疗补助“一站式”费用结算。具有贵港市户籍且在贵港市行政区域内享受定期抚恤补助的残疾军人、烈士遗属、因公牺牲军人遗属、病故军人遗属、在乡复员军人、带病回乡退役军人和参战参试退役军人(以下简称优抚对象),可在已开通政务外网的医疗定点服务机构享受医疗补助“一站式”费用结算。即优抚对象在定点医疗机构进行门诊、住院医疗费用结算时,经基本医保、大病保险(职工大额医疗费用补助)、医疗救助等相关医保待遇报销后,剩余的符合医保政策报销范围内个人自付费用(累计不超过年度最高补助限额)按所属县(市、区)退役军人事务局提供的该优抚对象医疗补助比例享受补助。补助金额与医疗费用同时结算,由定点医疗机构先行垫付补助部分,再由各县(市、区)退役军人事务部门转账支付给相关医疗机构。目前,已开通政务外网的医疗定点服务机构包括贵港市人民医院、贵港市中西医结合骨科医院、贵港市中医医院、桂平市中医医院、桂平市妇幼保健院、桂平市白沙镇卫生院、桂平市大湾镇卫生院等102家。
三、“一件事”增值办,融合延伸服务范围
贵港市为加快推动政务服务由便捷化向增值化升级,主动申报覃塘区作为广西政务服务增值化改革试点县市区,梳理选取了绿色家居产业作为试点产业,精细化梳理产业链条,分析产业链上中下游的供需关系,初步编制梳理了约15项覃塘区本地特色产业链服务事项清单,设置了“一站式”增值服务专窗,打造定制化、套餐式、模块化的涉企服务“一类事”场景,推进“一件事”向“一类事”转变,为企业提供精准化、个性化的一站式优质衍生服务,构建“政务服务+”,融合增值服务,扩大政务服务生态圈。

贵港市覃塘区涉企增值服务专窗
文件下载:
关联文件: